RT5014

7+6 Channels Power Management IC for DSC

RT5014
New

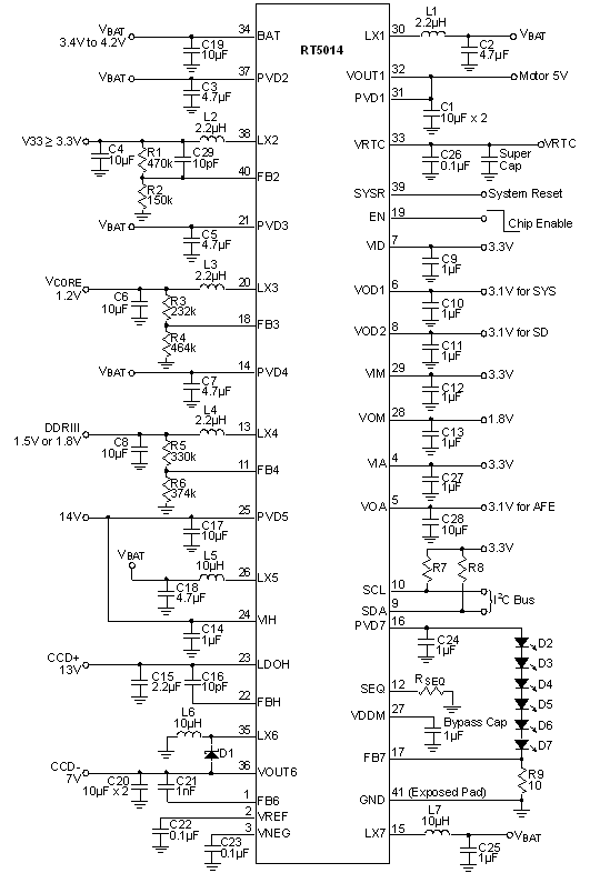
The RT5014 is a complete power supply solution for digital still cameras and other hand held devices. The RT5014 is a multi-channel DC/DC power management unit including one synchronous step-up DC/DC converter with load disconnect (CH1), one selectable synchronous step-up/step-down DC/DC converter (CH2), two synchronous step-down DC/DC converters (CH3/4), one synchronous high voltage step-up DC/DC converter (CH5), one asynchronous inverting DC/DC converter (CH6) and one WLED driver in synchronous high voltage step-up mode or current regulator mode (CH7). Besides, the RT5014 also includes six LDO regulators: one RTC_LDO, one High Voltage LDO for CCD+ bias power (CH8), one high PSRR LDO for AFE power (CH9), and three generic LDOs (CH10 to CH12). All P-MOSFETs are integrated and all frequency compensation network needed by DC/DC converters are built-in. RT5014 uses one sequence selection pin SEQ to select five preset sequences and uses I2C control interface to enable channels and adjust CH1/5/6/8/9/10/11/12 output voltage level and WLED dimming ratio and OVP threshold. RT5014 also includes a system reset function to monitor battery voltage. The RT5014 is designed to fulfill the applications for DSC as follows : CH1 is a synchronous step-up output for motor power. CH2 is a selectable synchronous step-up/step-down output for system I/O power. The operation mode is auto-selected by detecting external components topology. CH3 and CH4 are synchronous step-down outputs for DSP core and memory power supply. CH5 and CH8 HVLDO are for CCD+ bias power supply. CH6 is an asynchronous inverting output for negative CCD- bias power supply. CH7 is a WLED driver, auto-selected to be in synchronous high voltage step-up mode or current regulator mode.

Besides switching converters, RT5014 has some LDO regulators : CH9 is a LDO for AFE power. CH10 is 3.1V LDO for system, enabled in the preset power sequence. CH11 is a LDO enabled via I2C i/f for memory card and supports Dynamic Voltage Scaling function. CH12 is a LDO for memory card or PLL. CH10 default voltage and enabling are controlled in power sequence selected by pin SEQ. And one keep-alive 3.3V LDO for RTC power supply.

The RT5014 provides over current protection, thermal shutdown protection, over voltage protection, over load protection and under voltage protection to achieve complete protection.

The RT5014 is available in the WQFN-40L 5x5 package.

Applications

  • CCD-Sensor DSC
  • CMOS-Sensor DV