loading

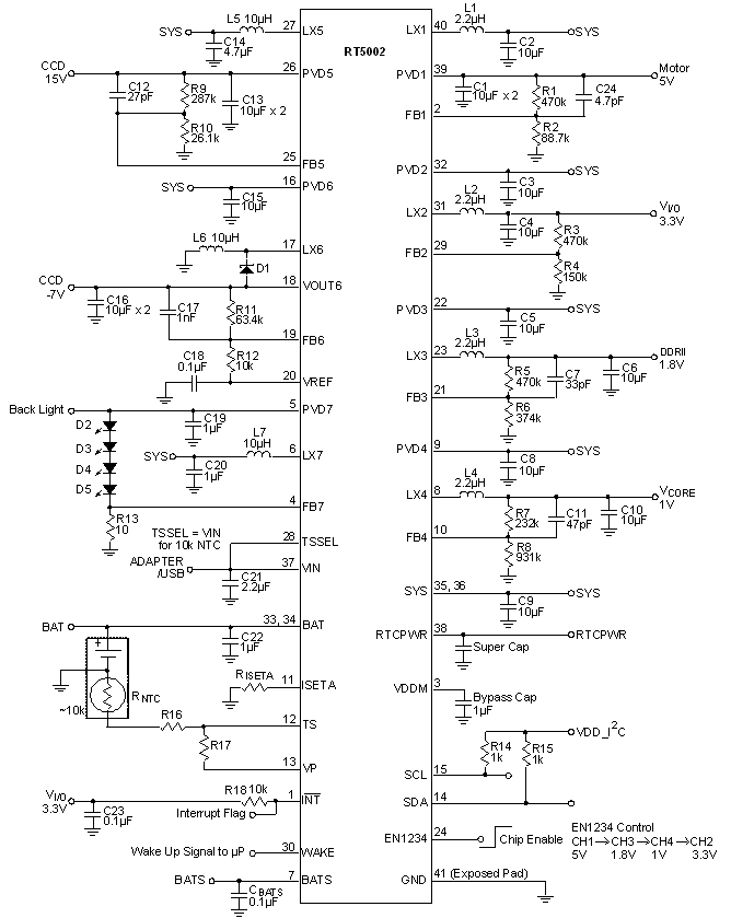
The RT5002 is a complete power supply solution for digital still cameras and other handheld devices. It includes a 7+1 channel DC/DC power converter unit, a single-cell Li-ion battery charger, and an I2C control interface.
The power converter unit includes one synchronous step-up converter and three synchronous step-down converters for DSP core, I/O, Motor, and memory power supply, one synchronous high voltage step-up converter and one asynchronous inverting converter for CCD± bias, one WLED driver in either synchronous high voltage step-up or current source operation, and one low quiescent LDO for RTC application. All converters are internally frequency compensated and integrate power MOSFETs. The power converter unit provides complete protection functions: over current, thermal shutdown, over voltage, over-load, and under voltage protection.
The battery charger includes Auto Power Path Management (APPM). No external MOSFETs are required. The charger enters sleep mode when power is removed. Charging tasks are optimized by using a control algorithm to vary the charge rate, including pre-charge mode, fast charge mode and constant voltage mode. The charge current can also be programmed with an external resistor and modified via the I2C control interface. The scope that the battery regulation voltage can be modified via the I2C interface depends on the battery temperature. The internal thermal feedback circuitry regulates the die temperature to optimize the charge rate for all ambient temperatures. The charging task will always be terminated in constant voltage mode when the charging current reduces to the termination current of 10% x ICHG_FAST. The charger includes under voltage and over-voltage protection for the supply input voltage, VIN.

Applications

  • DSC
TOP